Kia Picanto (JA): Elektrische Anlage

Allgemeine informationen

ALLGEMEINE INFORMATIONEN ZUR FEHLERSUCHE

VOR DER FEHLERSUCHE

1.

Die betroffenen Sicherungen in dem jeweiligen Sicherungs-/Relaiskasten prüfen.

2.

Batterie auf Beschädigung, Ladezustand, Sauberkeit und feste Anschlüsse prüfen.

G 1,0 MPI (Siehe Motorelektrik - "Ladesystem")

G 1,2 MPI (Siehe Motorelektrik - "Ladesystem")

  

Vor dem Schnellladen der Batterie das Batteriemassekabel abklemmen, da sonst die Generatordioden zerstört werden.

Niemals den Motor anlassen, wenn das Batteriemassekabel nur lose auf dem Batteriepol sitzt, da sonst die Fahrzeugverkabelung stark beschädigt wird.

3.

Prüfen, ob der Generator-Antriebsriemen (D) ordnungsgemäß gespannt ist.

UMGANG MIT STECKERN

1.

Sicherstellen, dass die Kabelstecker sauber sind und dass die Steckerklemmen fest in den Steckern.

2.

Sicherstellen, dass Mehrfachstecker auf der Rückseite mit Elektronikfett abgedichtet sind (ausgenommen wasserdichte Stecker).

3.

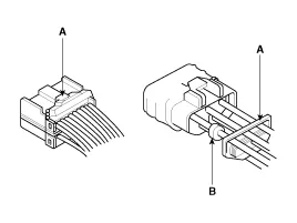
Alle Stecker besitzen eine Verriegelung (A), die durch Drücken entriegelt wird.

4.

An einigen Steckern ist seitlich eine Klammer angebracht, um die Stecker an der Karosserie oder an anderen Bauteilen befestigen zu können. Zum Entriegeln dieser Klammern muss der Entriegelungshebel nach oben gezogen werden.

5.

Zum Trennen einiger Steckverbinder mit Befestigungsklammer muss zuerst die Verriegelung gelöst und der Steckverbinder von der Halterung (A) getrennt werden.

6.

Beim Trennen von Steckverbindungen niemals an den Kabeln, sondern an den Steckerhälften ziehen.

7.

Vorher abgenommene Kunststoffabdeckungen müssen in jedem Fall wieder angebracht werden.

8.

Vor dem Anklemmen von Steckern darauf achten, dass die Steckerklemmen (A) ordnungsgemäß ausgerichtet und nicht verformt sind.

9.

berprüfen, dass der Halter (A) und die Gummidichtringe (B) nicht lose sind.

10.

Die Rückseiten einiger Stecker sind mit Elektronikfett abgedichtet. Fett bei Bedarf ergänzen und verunreinigtes Fett (A) ersetzen.

11.

Steckerhälften beim Anklemmen vollständig zusammenfügen und sicherstellen, dass die Verriegelung fest einrastet.

12.

Kabel immer so legen, dass die offene Seite der Abdeckung nach unten gerichtet ist.

UMGANG MIT KABELN UND KABELSTRÄNGEN

1.

Kabel und Kabelstränge mit den jeweiligen Kabelbändern an den dafür vorgesehenen Stellen sichern.

2.

Clips der Kabelhalter vorsichtig trennen und die Arretierungen (A) nicht beschädigen.

3.

Eine Zange (A) unter den Clipsockel und schräg durch das Loch schieben, dann die Verlängerungslaschen zum Lösen des Clips zusammendrücken.

4.

Nach der Montage der Kabelhalterungen kontrollieren, dass der Kabelstrang nicht mit sich bewegenden Bauteilen in Berührung kommen kann.

5.

Kabelstränge von der Abgasanlage und anderen heißen Bauteilen, scharfen Kanten, Bohrungsrändern und hervorstehenden Schrauben oder Bolzen fernhalten.

6.

Kabeltüllen ordnungsgemäß (A) in die Bohrungen einsetzen. Kabeltüllen nicht verdreht lassen (B).

Prüfung und Instandsetzung

1.

Keine Kabel oder Kabelstränge mit beschädigter Isolierung verwenden.

Kabel oder Kabelstränge mit beschädigter Isolierung ersetzen oder durch Umwickeln mit geeignetem Isolierband instand setzen.

2.

Beim Einbauen von Bauteilen stets darauf achten, dass Kabel nicht eingeklemmt oder beschädigt werden.

3.

Bei der Verwendung elektrischer Messgeräte die Herstelleranweisungen und die Anweisungen in diesem Handbuch befolgen.

4.

Immer wenn es möglich ist, das Ausbauwerkzeug von der Kabelseite her an die zu prüfende Klemme anlegen (ausgenommen wasserdichte Kabelstecker).

5.

Konisch geformte Prüfspitzen verwenden.

Siehe Benutzerhandbuch für Kabel-Reparatursatz (Pub. Nr.: TRK 015.)

FEHLERSUCH IN FÜNF SCHRITTEN

1.

Kundenbeanstandung überprüfen

Alle Bauteile im betroffenen Stromkreis überprüfen, um die Kundenreklamation zu bestätigen. Die Symptome notieren. Mit der Zerlegung oder dem Test erst beginnen, wenn der Problembereich eingegrenzt ist.

2.

Schaltplan analysieren

Betroffenen Stromkreis im Schaltplan auffinden.

Stromkreisfunktion durch Verfolgung des Stromverlaufs von der Spannungsquelle über alle Komponenten bis zur Masse feststellen. Wenn mehrere Stromkreise gleichzeitig ausfallen, sind die Sicherung oder die Masseversorgung die wahrscheinliche Ursache.

Mit Hilfe der Fehlersymptome und dem Verständnis des Stromlaufplans eine oder mehrere mögliche Fehlerursachen festlegen.

3.

Das Problem durch Testen des Stromkreises eingrenzen.

Stromkreisprüfungen durchführen, um die in Schritt 2 erstellte Diagnose zu überprüfen. Daran denken, dass logische und einfache Vorgehensweisen die Grundlagen einer effizienten Fehlersuche sind.

Die wahrscheinlichste Fehlerursache zuerst prüfen. Solange es möglich ist, Prüfungen an leicht zugänglichen Stellen durchführen.

4.

Fehlerursache beseitigen

Wenn die spezifische Fehlerursache feststeht, entsprechendes System instand setzen. Geeignetes Werkzeug benutzen und sichere Arbeitsverfahren anwenden.

5.

Nachkontrolle

Schalten Sie alle Komponenten des fehlerhaften Stromkreises ein, um sicherzugehen, dass Sie das gesamte Problem gelöst haben. Prüfen Sie, wenn das Problem eine durchgebrannte Sicherung war, unbedingt alle Stromkreise, die an dieser Sicherung hängen. Achten Sie darauf, dass keine neuen Pro- bleme auftreten, und dass das ursprüngliche Problem nicht wieder auftritt.

Einbau des Übertragungsgeräts

Elektronisch gesteuerte Computer werden so konstruiert, dass sie nicht von anderen Radiosignalen gestört werden, aber sie können von einem so niedrigen 25-W-Signal einer Fernbedienung gestört werden, wenn deren Antenne oder Kabel in der Nähe des Computers verlaufen. Um dies zu verhindern, die nachstehenden Anweisungen beachten.

1.

Antenne auf dem Fahrzeugdach oder im Heckbereich installieren.

2.

Die Antennenkabel müssen mindestens 200 mm vom Computer oder der Verkabelung entfernt sein, da diese Radiosignale übertragen.

3.

Stehwellenverhältnis durch Verwendung der richtigen Antennen und Kabel verringern.

4.

Keine Fernbedienung mit zu hoher Ausgangsleistung verwenden.

5.

Nach dem Einbau der Fernbedienung den Motor im Leerlauf durch Erzeugen von Radiosignalen prüfen.

  

Stehwellenverhältnis: Bei Anschluss an Kabeln und Antennen mit unterschiedlicher Impendanz kann sich die Eingangssignalimpendanz Zi durch die Länge der Kabel und die Frequenz der Fernbedienung ändern, wobei sich je nach Position auch der Spannungsbereich ändern kann.

Diese Werte der max. und der min. Spannung werden als Stehwellenverhältnis bezeichnet, welches sich auf Antennenimpendanz und Kabelimpendanz bezieht.

Die Stärke der Radiosignale von Kabeln verhält sich proportional zu der Stärke des Stehwellenverhältnisses, so dass sich die Beeinflussung von elektronischen Bauteilen erhöht.

Rückstellung von elektrischen Fensterhebern und Schiebedach

Das Batteriemassekabel (-) wurde abgeklemmt oder die Sicherung wurde ersetzt, während des Fenster bzw. das Schiebedach geöffnet/geschlossen wurde. Die Initialisierung erneut durchführen, da der Standardwert des Motors gelöscht wurde.

SYSTEM
Rücksetzen
Automatisches Hoch-/Herunterfahren des Fensters
window
  

Den Fensterhebermotor in den folgenden Fällen auf die Standarteinstellungen rückstellen:

Wenn der Fensterheber aufgrund eines Ersetzens der Batterie nicht mit Batteriestrom versorgt wird, die Batterie sich entladen hat oder die Sicherung beim Öffnen/Schließen des Fensters ersetzt wurde.

Wenn die Batterie abgezogen wird, sich entlädt oder wenn die betroffene Sicherung ersetzt oder wieder eingebaut wird, das System zum automatischen Hoch-/Herunterfahren des Fensters wie im Folgenden beschrieben rücksetzen.
1)

Zündung einschalten.

2)

Den Fensterheberschalter nach oben ziehen, bis das Fenster vollständig geschlossen ist, und dann noch 1 Sekunde lang nach oben gezogen halten.

SCHIEBEDACH
Das Schiebedach muss wie folgt initialisiert werden, wenn die Stromversorgung zum Schiebedachmotor unterbrochen, die Batterie entladen, die Sicherung beim Öffnen/Schließen des Schiebedachs ersetzt oder das Schiebedach über den Notfallgriff betätigt wurde.
  

Wenn die Stromversorgung zum Schiebedachmotor aufgrund eines Batteriewechsels unterbrochen wurde, die Batterie sich entladen hat oder die Sicherung beim Öffnen/Schließen des Fensters ersetzt wurde.

Wenn die One-Touch-Automatik zum Öffnen/Schließen des Schiebedachs nicht ordnungsgemäß funktioniert

Wenn das Schiebedach während des automatischen Schließvorgangs eine Umkehrbewegung vollführt, obwohl es nicht auf ein Hindernis gestoßen ist (Sicherheitsfunktion)

1)

Zündung einschalten und das Schiebedach sowie das Rollo mit dem CLOSE-Schalter vollständig schließen.

2)

Wenn Schiebedach und Sonnenschutz vollständig geschlossen sind, den CLOSE-Schalter loslassen und dann (ca. 10 s lang) gedrückt halten, bis sich Schiebedach und Sonnenschutz leicht bewegt haben.

3)

CLOSE-Schalter loslassen, dann den Schalter wieder drücken und festhalten, bis das Schiebedach und der Sonnenschutz in der folgenden Reihenfolge ganz geschlossen sind. Damit ist die Schiebedach-Rückstellung abgeschlossen.

Sonnenschutz öffnet → Glasschiebedach kippt, öffnet sich und schließt sich wieder → Sonnenschutz schließt sich.

※ Wird der CLOSE-Schalter losgelassen, während der oben beschriebene Vorgang noch im Gange ist, wird der Rückstellprozess abgebrochen und muss daher von Schritt 1 an wiederholt werden.


Bordcomputer, Uhr und Audio-Rückstellung

Wird das Batteriekabel nach vorherigem Abziehen wieder angeschlossen, wird die Batterie wieder aufgeladen, nachdem sie sich zuvor entladen hat, oder wird die Speichersicherung nach ihrem Ausbau in die Verkleidung auf der Fahrerseite eingebaut, stets die in nachfolgender Tabelle erwähnten Systeme rücksetzen.

Außerdem muss die Rückstellung gemäß der nachstehenden Tabelle erfolgen, wenn die Sicherungen ausgebaut und ersetzt bzw. wieder eingebaut wurden.

SYSTEM
Rücksetzen
Trip-Computer
Wenn die Batterie abgeklemmt bzw. wieder angeklemmt wird, wird die Konfiguration des Bordcomputers initialisiert. Den Kunden hierüber in Kenntnis setzen.
Uhr
Die Zeit muss an der Audio-Haupteinheit jedes Mal neu eingestellt werden, wenn die Batterieklemmen oder die zugehörigen Sicherungen getrennt wurden. (Siehe "Audio" in der Betriebsanleitung)
AUDIO
Wenn die Batterie nach dem Abklemmen wieder angeklemmt wird, werden die Voreinstellungen für die Radiosender des Kunden initialisiert. Die Voreinstellungen für die Radiosender des Kunden vor der Wartung notieren, und nach der Wartung die Voreinstellungen für die Radiosender des Kunden einstellen.

Spezialwerkzeuge

SPEZIALWERKZEUGE

Werkzeugbezeichnung / Nummer
Abbildung
Beschreibung
Batterieprüfgerät für RKE-Batterie
09954-2P100

Messen der RKE-Batteriespannung

Bauteile und bauteile-Übersicht BAUTEILE-ÜBERSICHT 1. Windschutzscheibe 2. Windschutzscheibenprofil Reparaturverfahren Ausbau    Handschuhe anziehen, um die Hände zu schützen.

Technische daten Technische Daten Bauteil Technische Daten MODELL Radio/MP3/Bluetooth (Typ A) Radio/MP3/Bluetooth (Typ B) Stromversorgung DC 14,4 V Kriechstrom Max.

Weitere Informationen:

Kia Picanto (JA) Reparaturanleitung: Zentralverriegelung mit Fernbedienung und Alarmanlage

Technische daten SPEZIFIKATION Pos. SPEZIFIKATION STROMVERSORGUNG 3 V Betriebstemperatur -30 - 75 °C RF-Modulation FSK LF-Modulation ASK RF-Frequenz 433,92 MHz

Kia Picanto (JA) Reparaturanleitung: Fensterheber

Bauteile und bauteile-Übersicht BAUTEILE-ÜBERSICHT 1. Fensterheberschalter (Fahrerseite) 2. Fensterheberschalter (Beifahrerseite) 3 Fensterheberschalter hinten 4. Fensterhebermotor vorn 5. Fensterhebermotor hinten Beschreibung und bedienung Sicherheitsfunktion des elektris

Kategorien

 
Copyright © 2026 www.picantode.com - 0.0231