| BAUTEILE-ÜBERSICHT |

| 1. Backenniederhaltestift 2. Backeneinsteller 3. Obere Rückholfeder 4. Einstellen des Hebels |
5. Bremsbacke 6. Einstellen der Feder 7. Untere Rückholfeder 8. Backenhaltefeder |
| Ausbau |
|
| 1. |
Hinterräder und -reifen abmontieren.
|
| 2. |
Feststellbremse lösen. |
| 3. |
Schraube (B) lösen, dann die hintere Bremstrommel (A) abbauen.
|
| 4. |
Untere Rückstellfeder (A) ausbauen.
|
| 5. |
Untere Rückholfeder (A) ausbauen.
|
| 6. |
Backenhaltefedern (A) und Backenhaltestifte (B) ausbauen, dann die Bremsbacke entfernen (C). Sicherstellen, dass die Staubschutzkappe am Radzylinder nicht beschädigt wird.
|
| 7. |
Feststellbremszug (A) ausbauen, dann Bremsbacke (B) ausbauen.
|
| 8. |
Hinteren Raddrehzahlsensor ausbauen. (Siehe ESC (Elektronische Stabilitätshilfe)-System - "Hinterraddrehzahlsensor") |
| 9. |
Bremsschläuche (A) vom Radzylinder abziehen.
|
| 10. |
Schrauben (C) und Radzylinder (B) aus der hinteren Platte (D) herausdrehen. |
| Einbau |
|
| 1. |
Dichtmittel zwischen dem Radzylinder (B) und der Trägerplatte (D) auftragen und den Radzylinder einbauen.
|
| 2. |
Bremsleitungen (A) an den Radzylinder anschließen.
|
| 3. |
Feststellbremszug (A) mit der Bremsbacke verbinden.
|
| 4. |
Bremsbacken (C) an der Trägerplatte anbauen. Darauf achten, dass die Radzylinderschutzkappen nicht beschädigt werden.
|
| 5. |
Einbau der Bremsbacken-Halteklammern (B) und der Bremsbacken-Haltefedern (A). |
| 6. |
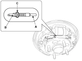
Gewinde der Einstellmuffe (A) und der Druckstangenbuchse (B) reinigen. Spezifiziertes Schmierfett auf das Gewinde der Einstelleinheit auftragen. Um die Bügel zu kürzen, die Einstellschraube (C) drehen.
|
| 7. |
Bremsbacken-Einstellhebel (C) einhaken, dann an der Bremsbacke montieren.
|
| 8. |
Einstelleinheit (B) und obere Rückstellfeder (A) in der richtigen Richtung einbauen. Darauf achten, dass die Radzylinderschutzkappen nicht beschädigt werden.
|
| 9. |
Untere Rückstellfeder (B) einbauen.
|
| 10. |
Bremszylinderfett oder ein gleichwertiges Gummifett auf die dargestellten Gleitflächen auftragen. Darauf achten, dass kein Fett auf die Bremsbeläge kommt.
|
| 11. |
Bremszylinderfett oder ein gleichwertiges Gummifett auf die dargestellten Bremsbackenkanten und die gegenüberliegenden Kanten auftragen. Darauf achten, dass kein Fett auf die Bremsbeläge kommt.
|
| 12. |
Hintere Bremstrommel (A) einbauen.
|
| 13. |
Wurde der Radzylinder ausgebaut, muss die Bremsanlage entlüftet werden. |
| 14. |
Mehrfach das Bremspedal niederdrücken, damit die Selbstjustierung der Bremse eingestellt wird. |
| 15. |
Feststellbremse einstellen. |
| PRÜFUNG |
|
|
| 1. |
Das Fahrzeug hinten anheben und überprüfen, ob es sicher abgestützt ist. |
| 2. |
Die Feststellbremse lösen und die hintere Bremstrommel abmontieren. |
| 3. |
Den Radzylinder (A) auf Undichtigkeiten überprüfen.
|
| 4. |
Die Bremsbeläge (B) auf Risse, Verglasung, Verschleiß und Verunreinigungen überprüfen. |
| 5. |
Bremsbelagdicke (C) messen. Die Messung beinhaltet nicht die Messung der Bremsbackendicke.
|
| 6. |
Wenn die Belagstärke nicht mehr innerhalb der vorgeschriebenen Werte liegt, sind die Bremsbacken rechts und links als kompletter Satz auszutauschen. |
| 7. |
berprüfen der Radnabenlager auf leichten Betrieb. Falls es Wartung benötigt, ersetzten Sie es. |
| 8. |
Den lnnendurchmesser der Bremstrommel mit einem Innenmessschieber messen.
|
| 9. |
Falls der lnnendurchmesser der Bremstrommel größer ist, als die Verschleißgrenze erlaubt, die Bremstrommel ersetzen. |
| 10. |
Die Bremstrommel auf Abnutzung, Riefen und Risse überprüfen. |
| 11. |
Bremsbelag und -trommel auf korrekten Kontakt überprüfen.
|
| 12. |
Die Außenfläche des Radzylinders auf übermäßigen Verschleiß und Beschädigung untersuchen. |
| 13. |
Die Grundplatte auf Verschleiß oder Beschädigung überprüfen. |
Bauteile und bauteile-Übersicht BAUTEILE-ÜBERSICHT 1. Rückstellfeder 2. Bremsbelageinheit [AUSSEN] 3. Bremsbelageinheit [IN] 4.
Bauteile und bauteile-Übersicht BAUTEILE-ÜBERSICHT 1. Bremsträgereinheit 2. Bremslichtschalter 3. Bremspedalarmeinheit 4.
Bauteile und bauteile-Übersicht BAUTEILE-ÜBERSICHT [Standard-Fensterhebermotor] [Sicherheitsfensterhebermotor] Reparaturverfahren PRÜFUNG • Zum Ausbau Schraubendreher oder Abzieher mit Klebe
Bauteile und bauteile-Übersicht BAUTEILE-ÜBERSICHT 1. Modus-Stellantrieb Beschreibung und bedienung Beschreibung Der Modus-Stellantrieb befindet sich an der Heizungseinheit. Es regelt die Stellung der Modus-Klappen über die Betätigung des Modus-Stellantriebs basierend auf dem Sig