| Beschreibung |
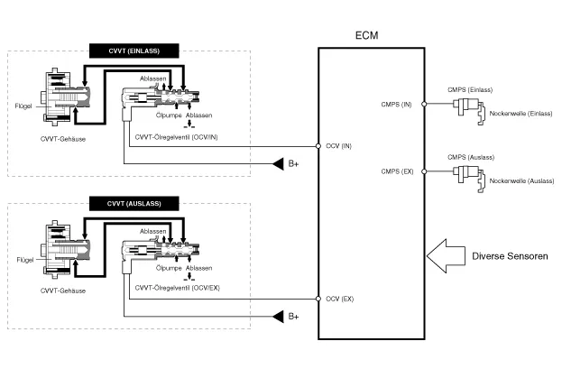
Die stufenlos variable Ventilsteuerung (CVVT) verstellt die Ventilsteuerung von Einlass- und Auslassventil in Richtung 'früh' oder 'spät' gemäß dem ECM-Steuersignal, das anhand von Motordrehzahl und -last berechnet wird.
Bei der variablen Ventilsteuerung (CVVT) können durch Veränderung der Ventilüberschneidung der Kraftstoffverbrauch gesenkt und der Ausstoß von schädlichen Gasen (NOx, HC) reduziert werden. Außerdem wird die Motorleistung durch eine Verringerung der Pumpenverluste, den internen AGR-Effekt, eine Verbesserung der Verbrennungsstabilität, eine Verbesserung des volumetrischen Wirkungsgrads und eine Erhöhung der Expansionsarbeit gesteigert.
Dieses System besteht aus
| – |
CVVT-Ölsteuerventil (OCV), das den Nocken-Zeiger mit Öl versorgt oder das gemäß dem Steuersignal vom ECM PWM (Impulsdauermodulation) Motoröl aus dem Nocken-Zeiger herauslaufen lässt, |
| – |
CVVT-Öltemperatursensor (OTS), der die Motoröltemperatur misst, |
| – |
und Nockenphaser, der die Nockenphase durch die vom Motoröl erzeugte Hydraulikkraft variiert. |
Das Motoröl, das durch das CVVT-Ölregelventil fließt, verstellt die Nockenwelle in Richtung (Einlass-In Richtung früh verstellen/Auslass-In Richtung spät verstellen) oder in entgegengesetzte Richtung (Einlass-In Richtung spät verstellen/Auslass-In Richtung früh verstellen) der Motordrehung, indem der Rotor gedreht wird, der an die Nockenwelle im Phasenwandler angeschlossen ist.

| ARBEITSPRINZIP |
Das CVVT verfügt über einen Mechanismus, der den Rotorflügel mit Hydraulikkraft dreht, die von dem Motoröl erzeugt wird, das der nach früh oder nach spät verstellten Kammer gemäß der CVVT-Ölregelventilsteuerung zugeführt wird.

| [CVVT-Systemmodus] |

|
(1) Niedrige Drehzahl / Niedrige Last |
(2) Teillast |
|
|
|
|
(3) Niedrige Drehzahl / Hohe Last |
(4) Hohe Drehzahl / Hohe Last |
|
|
|
|
Fahrbetrieb Bedingung |
Auspuffventil |
Einlassventil |
||
|
Ventil Steuerung |
Auswirkung |
Ventil Steuerung |
Auswirkung |
|
|
(1) Niedrige Drehzahl /Niedrige Last |
vollständig FRÜH |
* Ventilunterschneidung * Verbesserter Wirkungsgrad bei der Verbrennung |
vollständig SPÄT |
* Ventilunterschneidung * Verbesserter Wirkungsgrad bei der Verbrennung |
|
(2) Teillast |
SPÄT |
* Stärkere Ausdehnung * Pumpenverlustminimierung * HC-Reduzierung |
SPÄT |
* Pumpenverlustminimierung |
|
(3) Niedrige Drehzahl /Hohe Last |
SPÄT |
* Stärkere Ausdehnung |
FRÜH |
* Verhinderung der Ansaugluftrückströmung (Verbesserung des Wirkungsgrads)
|
|
(4) Hohe Drehzahl /Hohe Last |
FRÜH |
* Pumpenverlustminimierung |
SPÄT |
* Verbesserung des Wirkungsgrads |
| Ausbau |
| 1. |
Zylinderkopfdeckel abbauen. (Siehe Zylinderkopf - "Zylinderkopfdeckel") |
| 2. |
Unterdruckpumpe ausbauen. (Siehe Zylinderkopf - "Unterdruckpumpe") |
| 3. |
Steuerkette entfernen. (Siehe Zündsystem - "Steuerkette") |
| 4. |
CVVT-Einlassbaugruppe (A) und CVVT-Auslassbaugruppe (B) ausbauen.
|
| 5. |
Lagerdeckel (A) der vorderen Nockenwelle und Lagerdeckel (B) der mittleren Nockenwelle in der dargestellten Reihenfolge ausbauen.
|
| 6. |
Nockenwellen (A) ausbauen.
|
| PRÜFUNG |
Nockenwelle
| 1. |
Nocken der Nockenwelle prüfen. Nockenhöhe mit einer Mikrometerschraube messen.
Die Nockenwelle ersetzen, wenn die Nockenhöhe unter dem Standardwert liegt. |
| 2. |
Nockenwellen-Lagerspiel prüfen.
|
| 3. |
Nockenwellen-Axialspiel prüfen.
|
CVVT-Einheit (Variable Ventilsteuerung )
| 1. |
CVVT-Einheit Überprüfen.
|
| Einbau |
| 1. |
Nockenwellen (A) montieren.
|
| 2. |
Lagerdeckel (A) der vorderen Nockenwelle und Lagerdeckel (B) der mittleren Nockenwelle in der dargestellten Reihenfolge einbauen.
|
| 3. |
CVVT-Einlassbaugruppe (A) und CVVT-Auslassbaugruppe (B) einbauen.
|
| 4. |
Übrige Teile in umgekehrter Reihenfolge des Ausbaus wieder einbauen. |
Reparaturverfahren Aus- und Einbau 1. Minuspol von der Batterie abklemmen. 2. Kabelstrangsteckverbinder und Kabelstrangschellen entfernen und die Steckverbinderhalterungen im Bereich der Unterdruckpumpe entfernen.
Reparaturverfahren Ausbau • Kotflügelschoner verwenden, damit die Lackierung nicht beschädigt wird.
Reparaturverfahren Smart Key Speichern des Smart-Key-Codes 1. Das KDS/GDS an den Diagnosestecker (16P) unter der Armaturenbrettabdeckung auf der Fahrerseite anschließen und einschalten. 2. Erst das Fahrzeugmodell und danach die Funktion 'Speichern des Smart-Key-Codes'
Bauteile und bauteile-Übersicht BAUTEILE-ÜBERSICHT 1. Deckel 2. Mutter 3. Wischerarm und Wischerblatt 4. Obere Windlaufabdeckung 5. Schraube 6. Wischermotor und Wischergestänge 7. Wischermotor-Steckverbinder Reparaturverfahren Ausbau 1.