| EINBAULAGE DER KOMPONENTEN |

| 1. Sicherungsmutter 2. Staubkappe Aufhängung 3. Selbstsichernde Mutter 4. Federbeinlager 5. Federbeinlager 6. Oberer Federsitz |
7. Oberer Federsitzring 8. Schraubenfeder 9. Staubschutz 10. Stoßfängergummi 11. Unterer Federsitzring 12. Stoßdämpfer |
| Ausbau |
| 1. |
Vorder-/Hinterrad (A) abmontieren.
|
| 2. |
Schraube lösen und Raddrehzahlsensor ausbauen.
|
| 3. |
Die Mutter des Stabilisators abschrauben.
|
| 4. |
Obere Windlaufverkleidung entfernen. (Siehe Kapitel Karosserie - "Obere Windlaufverkleidung") |
| 5. |
Nehmen Sie die Haube ab.
|
| 6. |
Mutter am vorderen Federbein lösen.
|
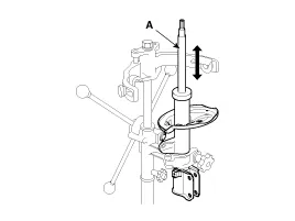
| 7. |
Schrauben lösen und Federbeineinheit (A) aus dem Achsschenkel ausbauen.
|
| 8. |
Der Einbau erfolgt in der umgekehrten Reihenfolge des Ausbaus. |
| ZERLEGUNG |
| 1. |
Schraubenfeder (A) mithilfe des Federspanners zusammendrücken.
|
| 2. |
Mit Spezialwerkzeug (09546-3X100) die selbstsichernde Mutter lösen.
|
| 3. |
Federbeinlager, oberen Federsitz, Schraubenfeder und Faltenbalg vom Federbein abbauen. |
| 4. |
Der Zusammenbau erfolgt in der umgekehrten Reihenfolge der Zerlegung. |
| PRÜFUNG |
| 1. |
Oberes Federbeinlager auf Verschleiß und Beschädigung prüfen. |
| 2. |
Gummiteile auf Beschädigung und Verschleiß prüfen. |
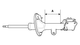
| 3. |
Kolbenstange (A) niederdrücken und herausziehen und dabei auf ungleichmäßigen Widerstand und ungewöhnliche Geräuschentwicklung prüfen.
|
Behebung
| 1. |
Kolbenstange vollständig herausziehen. |
| 2. |
Federbeinpatrone im Bereich 'A' anbohren, um das Gas aus dem Zylinder entweichen zu lassen.
|
Bauteile und bauteile-Übersicht EINBAULAGE DER KOMPONENTEN 1. Hilfsrahmen 2. Stabilisator 3. Getriebe 4. Spurstangenkopf 5.
Reparaturverfahren Ausbau 1. Vorder-/Hinterrad (A) abmontieren. Anzugsdrehmoment. 107,9 ~ 127,5 Nm (11,0 ~ 13,0 kgm) Hierbei darauf achten, dass die Radmuttern beim Abnehmen von Vorderrad und -reifen nicht beschädigt werden.
Bauteile und bauteile-Übersicht BAUTEILE-ÜBERSICHT 1. Sitzheizungseinheit 2. Vordersitzlehnenheizung 3. Vordersitzpolsterheizung Schematische darstellungen Schaltplan Reparaturverfahren PRÜFUNG 1.
Bauteile und bauteile-Übersicht BAUTEILE-ÜBERSICHT 1. Modus-Stellantrieb Beschreibung und bedienung Beschreibung Der Modus-Stellantrieb befindet sich an der Heizungseinheit. Es regelt die Stellung der Modus-Klappen über die Betätigung des Modus-Stellantriebs basierend auf dem Sig