| Beschreibung |
Aufgrund der beträchtlich häufigeren Startvorgänge führt die oft auftretende elektrische Last zu Spannungsabfällen im Fahrzeugnetzwerk.
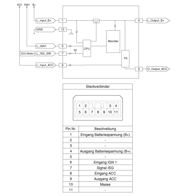
Um die Stromversorgung für bestimmte spannungsempfindliche elektrische Bauteile zu stabilisieren, wird ein DC/DC-Wandler zusammen mit der ISG-Funktion verwendet.
Der DC/DC-Wandler verfügt über ein Relais mit einer Spannung, die während des Startvorgangs konstant bleibt.
Der DC/DC-Wandler befindet sich hinter dem Handschuhfach.
Über die Prüfkabel für Eingangsspannung und Anlasserrelais entscheidet die Elektronik, ob die Stromzufuhr zum Ausgang über die Umgehung oder DC/DC-Wandler erfolgt.
Im Umgehungsmodus wird die on-board-Versorgungsspannung nicht durch den DC/DC-Wandler, sondern direkt an die Ausgänge übertragen. In der Verstärkerphase wird die Fahrzeugspannung angepasst.
| ARBEITSPRINZIP |

|
| BAUTEILE-ÜBERSICHT |

| 1. DC/DC-Wandler |
| Schaltplan |

| Ausbau |
| 1. |
Zündung ausschalten und Minuskabel (-) der Batterie abklemmen. |
| 2. |
Untere Armaturenbrettverkleidung abbauen. (Siehe Karosserie (Innen und Außen) - "Untere Armaturenbrettverkleidung") |
| 3. |
DC/DC-Wandler-Steckverbinder (A) abziehen. |
| 4. |
Mutter und Schraube entfernen, dann DC/DC-Wandler (B) ausbauen.
|
| Einbau |
Nach dem Abklemmen und Wiederanschließen des negativen Batteriekabels, arbeitet die ISG-Funktion erst, nachdem sich das System stabilisiert hat (nach ca. 4 Sunden). Wenn das Batterieminuskabel (-) während der Reparaturarbeiten bei einem mit AMS-Funktion ausgestatteten Fahrzeug abgeklemmt wurde, muss der Batteriesensor nach dem Ende der Reparaturarbeiten neu kalibriert werden. |
| 1. |
Der Einbau erfolgt in der umgekehrten Reihenfolge des Ausbaus. |
Technische daten SPEZIFIKATION ▷ 13,5V, 120A [Nur ISG] Pos. SPEZIFIKATION Nennspannung 13,5 V, 120 A Drehzahl im Betrieb 1.
Technische daten SPEZIFIKATION ▷ CMF45L-DIN Pos. SPEZIFIKATION Kapazität (20 h / 5 h) (Ah) 45/36 Kaltstart-Amperezahl (A) 410 (SAE) / 410(EN) Kapazitätsreserve (Min) 80 ▷ AGM50L-DIN Pos.
Reparaturverfahren PRÜFUNG 1. Zündung "EIN" 2. Den Schalter von Hand betätigen und die Spannung des Gebläsemotors messen. 3. Schalter betätigen und die Spannung erhöhen, bis das Relais schaltet (maximale Gebläsegeschwindigkeit)
Beschreibung und bedienung Beschreibung Der Pollenfilter hält Fremdstoffe und Gerüche zurück. Für die Reinigung der Innenraumluft beinhaltet dieser Filter gleichzeitig einen Geruchsfilter und einen konventionellen Luftfilter. Reparaturverfahren AUS- UND EINBAU 1.