Kia Picanto (JA): Klimasystem / Außentemperatursensor

Beschreibung und bedienung

Beschreibung
1.

Der Außentemperatursensor befindet sich an der Vorderseite des Kondensators und erfasst die Außentemperatur. Es handelt sich um einen Thermistor mit negativem Temperaturkoeffizienten, d.h. der Widerstand steigt bei Temperaturabfall und er sinkt bei Temperaturerhöhung.

2.

Der Sensor wird für die Regelung der Luftauslasstemperatur, für die Steuerung der Temperaturmischklappe, für die Regelung der Gebläsedrehzahl, für die MIX-Modussteuerung und für die Luftfeuchtigkeitsregelung im Fahrzeuginnenraum verwendet.

  

Liegt die Außentemperatur unter 0°C, wird der Betrieb des Klimakompressors gestoppt.

Der Kompressor kann in diesem Fall aber manuell wieder zugeschaltet werden.

Reparaturverfahren

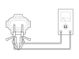
PRÜFUNG
1.

Zündung "AUS".

2.

Außenluftemperatursensor abtrennen.

3.

Widerstand des Außentemperatursensors zwischen den Klemmen 1 und 2 darauf prüfen, ob er sich bei Änderung der Außentemperatur ebenfalls ändert.

SPEZIFIKATION

Außentemperatur
[°C]
Widerstand zwischen Klemmen 1 und 2 (kΩ)
-30
507
-20
284,5
-10
164,2
0
97,5
10 (50)
59,6
20 (68)
37,46
30
24,18
40
16
50
18,83

AUS- UND EINBAU
1.

Batteriemassekabel abklemmen.

2.

Untere Motorraumabdeckung abbauen.

G 1,0 MPI-KAPPA (Siehe Motormechanik - "Untere Motorraumabdeckung")

G 1,2 MPI-GAMMA (Siehe Motormechanik - "Untere Motorraumabdeckung")

G 1,0 T-GDI KAPPA (Siehe Motormechanik - "Untere Motorraumabdeckung")

3.

Steckverbinder (A) abziehen und Außentemperatursensor (B) ausbauen.

4.

Der Einbau erfolgt in der umgekehrten Reihenfolge des Ausbaus.

    Beschreibung und bedienung Beschreibung 1. Der Fotosensor befindet sich mittig in der Defrosterdüse. Der Fotosensor beinhaltet eine fotovoltaische Diode, die auf Sonnenlicht reagiert.

    Weitere Informationen:

    Kia Picanto (JA) Reparaturanleitung: Klimaanlagen-druckwandler

    Bauteile und bauteile-Übersicht BAUTEILE-ÜBERSICHT 1. Klimaanlagen-Druckwandler Beschreibung und bedienung Beschreibung Nach der Messung des Druckwerts der Hochdruckleitung wird dieser Wert vom Klimaanlagen-Druckwandler in einen Spannungswert umgewandelt.

    Kia Picanto (JA) Reparaturanleitung: Wärmetauscher

    Reparaturverfahren AUS- UND EINBAU 1. Batteriemassekabel abklemmen. 2. Die Heizungsgruppe entfernen. (Siehe Heizung - "Heizung") 3. Wärmetauscherabdeckung (A) nach Lösen der Befestigungsschrauben abnehmen.

    Kategorien

     
    Copyright © 2026 www.picantode.com - 0.0743