| BAUTEILE-ÜBERSICHT |

| 1. Sprengring 2. Lager 3. Achseneinheit 4. Bremsscheibenstaubabdeckung 5. Radnabe |
2. Bremsscheibe 7. Bremsscheibenbefestigungsschraube 8. Felge / Reifen 9. Radmutter |
| Ausbau |
| 1. |
Vorder-/Hinterrad (A) abmontieren.
|
| 2. |
Befestigungsschrauben (A) des Bremssattels ausschrauben, dann den Bremssattel mit dem Draht festhalten.
|
| 3. |
Durch Hämmern auf einen Meißel die Verstemmung der Antriebswellen-Sicherungsmutter lösen.
|
| 4. |
Verstemmmutter von der Vorderachse lösen.
|
| 5. |
Schraube lösen und Raddrehzahlsensor ausbauen.
|
| 6. |
Stift und Mutter vom Kugellager am Spurstangenkopf entfernen.
|
| 7. |
Spurstangenkugelgelenk mit Spezialwerkzeug (09568-1S100) vom Achsschenkel trennen.
|
| 8. |
Schraube und Mutter (A) des unteren Tragarms entfernen.
|
| 9. |
Vorderen unteren Tragarm mit Spezialwerkzeug (0K545-A9100) vom Achsschenkel abbauen.
|
| 10. |
Schraube lösen, dann die Bremsscheibe abnehmen.
|
| 11. |
Schrauben und Muttern des vorderen Federbeins lösen, dann Achsschenkel (A) ausbauen.
|
| PRÜFUNG |
| 1. |
Nabe auf Rissbildung und Verzahnungen auf Verschleiß prüfen. |
| 2. |
Bremsscheibe auf Riefen und Beschädigung prüfen. |
| 3. |
Achsschenkel auf Rissbildung prüfen |
| 4. |
Lager auf Rissbildung oder Beschädigung prüfen. |
| ZERLEGUNG |
| 1. |
Sprengring (A) entfernen.
|
| 2. |
Nabe vom Achsschenkel abbauen.
|
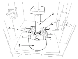
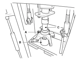
| 3. |
Lagerinnenlaufring von der Nabe abbauen.
|
| 4. |
Lageraußenring vom Achsschenkel abbauen.
|
| 5. |
Nabenlager durch ein neues ersetzen. |
| Zusammenbau |
| 1. |
Nabe am Achsschenkel anbauen.
|
| 2. |
Nabe am Achsschenkel anbauen.
|
| 3. |
Sprengring (A) anbringen.
|
Technische daten SPEZIFIKATION MOTOR GETRIEBE Gelenkart Maximal zulässiger Winkel Außen Innen Außen Innen Kappa 1.
Reparaturverfahren Ausbau 1. Batteriemassekabel abklemmen. 2. Aufprallpolster-Hauptteil ausbauen. (Siehe Karosserie - "Hauptarmaturenbrett") 3. Steckverbinder von der Wegfahrsperren-Einheit abziehen und dann die Wegfahrsperren-Einheit (A) abziehen, nachdem
Bauteile und bauteile-Übersicht BAUTEILE-ÜBERSICHT Reparaturverfahren AUS- UND EINBAU 1. Kältemittel aus dem System ablassen. 2. Fehlerhafte Leitungen oder Schläuche ersetzen.