| Beschreibung |
Die stufenlos verstellbare Ventilsteuerung (CVVT) verstellt die Ventilsteuerung von Einlass- und Auslassventil in Richtung 'früh' oder 'spät' gemäß dem ECM-Steuersignal, das anhand von Motordrehzahl und -last berechnet wird.
Das CVVT-System steuert die Ventilüberschneidung, und senkt hierdurch den Kraftstoffverbrauch und reduziert die Abgase (NOx, HC). Das CVVT-System steigert die Motorleistung durch eine Verringerung der Pumpenverluste, den internen AGR-Effekt, eine Verbesserung der Verbrennungsstabilität, eine Verbesserung des volumetrischen Wirkungsgrads und eine Erhöhung der Expansionsarbeit.
Dieses System besteht aus:
| – |
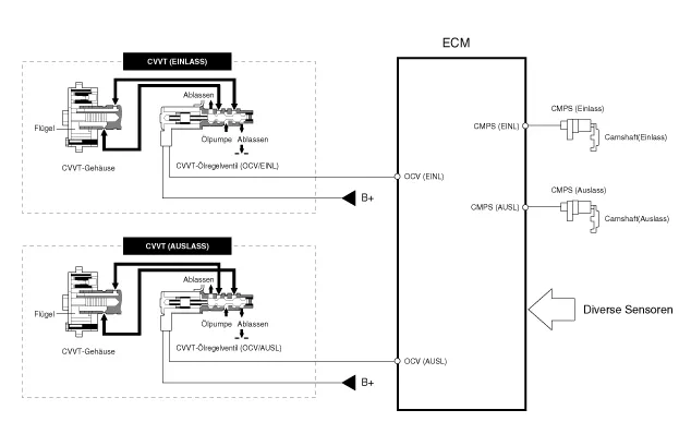
CVVT-Ölsteuerventil (OCV), das den Nocken-Zeiger mit Öl versorgt oder das gemäß dem Steuersignal vom ECM PWM (Impulsdauermodulation) Motoröl aus dem Nocken-Zeiger herauslaufen lässt, |
| – |
CVVT-Öltemperatursensor (OTS), der die Motoröltemperatur misst, |
| – |
und Nockenphaser, der die Nockenphase durch die vom Motoröl erzeugte Hydraulikkraft variiert. |
Das Motoröl, das durch das CVVT-Ölregelventil fließt, verstellt die Nockenwelle in Richtung (Einlass-In Richtung früh verstellen/Auslass-In Richtung spät verstellen) oder in entgegengesetzte Richtung (Einlass-In Richtung spät verstellen/Auslass-In Richtung früh verstellen) der Motordrehung, indem der Rotor gedreht wird, der an die Nockenwelle im Phasenwandler angeschlossen ist.

| ARBEITSPRINZIP |
Das CVVT verfügt über einen Mechanismus, der den Rotorflügel mit Hydraulikkraft dreht, die von dem Motoröl erzeugt wird, das der nach früh oder nach spät verstellten Kammer gemäß der CVVT-Ölregelventilsteuerung zugeführt wird.

| [CVVT-Systemmodus] |

|
(1) Niedrige Drehzahl / Niedrige Last |
(2) Teillast |
|
|
|
|
(3) Niedrige Drehzahl / Hohe Last |
(4) Hohe Drehzahl / Hohe Last |
|
|
|
|
Fahrbetrieb Bedingung |
Auspuffventil |
Einlassventil |
||
|
Ventil Steuerung |
Auswirkung |
Ventil Steuerung |
Auswirkung |
|
|
(1) Niedrige Drehzahl /Niedrige Last |
vollständig FRÜH |
* Ventilunterschneidung * Verbesserter Wirkungsgrad bei der Verbrennung |
vollständig SPÄT |
* Ventilunterschneidung * Verbesserter Wirkungsgrad bei der Verbrennung |
|
(2) Teillast |
SPÄT |
* Stärkere Ausdehnung * Pumpenverlustminimierung * HC-Reduzierung |
SPÄT |
* Pumpenverlustminimierung |
|
(3) Niedrige Drehzahl /Hohe Last |
SPÄT |
* Stärkere Ausdehnung |
FRÜH |
* Verhinderung der Ansaugluftrückströmung (Verbesserung des Wirkungsgrads)
|
|
(4) Hohe Drehzahl /Hohe Last |
FRÜH |
* Pumpenverlustminimierung |
SPÄT |
* Verbesserung des Wirkungsgrads |
Beschreibung und bedienung Beschreibung Der Katalysator des Benzinmotors ist ein Dreiwege-Katalysator. Er oxidiert Kohlenmonoxide und Kohlenwasserstoffe (HC) und trennt Sauerstoff von den Stickoxiden (NOx).
Technische daten Technische Daten Kraftstofffördersystem Bauteil SPEZIFIKATION Kraftstofftank Kapazität 35 L (9,2 U.
Bauteile und bauteile-Übersicht BAUTEILE-ÜBERSICHT 1. Scheinwerferhöhenverstell-Stellantrieb 2. Scheinwerferhöhenverstellschalter ※ Der Scheinwerfer-Höhenstellantrieb ist in den Scheinwerfer integriert.
Allgemeine sicherheitsinformationen und vorsichtshinweise ANWEISUNGEN UMGANG MIT KÄLTEMITTEL 1. R-134a ist ein hochgradig flüchtiges Kältemittel. Ein Tropfen auf der Haut kann zu partiellen Erfrierungen führen. Beim Umgang mit Kältemittel stets Schutzhandschuhe tragen.