| Beschreibung |
Aufgrund der beträchtlich häufigeren Startvorgänge führt die oft auftretende elektrische Last zu Spannungsabfällen im Fahrzeugnetzwerk.
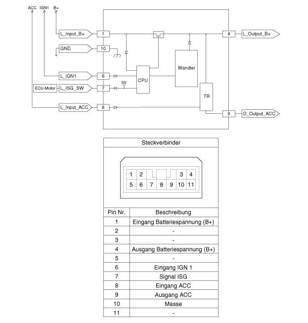
Um die Stromversorgung für bestimmte spannungsempfindliche elektrische Bauteile zu stabilisieren, wird ein DC/DC-Wandler zusammen mit der ISG-Funktion verwendet.
Der DC/DC-Wandler verfügt über ein Relais mit einer Spannung, die während des Startvorgangs konstant bleibt.
Der DC/DC-Wandler befindet sich hinter dem Handschuhfach.
Über die Prüfkabel für Eingangsspannung und Anlasserrelais entscheidet die Elektronik, ob die Stromzufuhr zum Ausgang über die Umgehung oder DC/DC-Wandler erfolgt.
Im Umgehungsmodus wird die on-board-Versorgungsspannung nicht durch den DC/DC-Wandler, sondern direkt an die Ausgänge übertragen. In der Verstärkerphase wird die Fahrzeugspannung angepasst.
| ARBEITSPRINZIP |

|
| BAUTEILE-ÜBERSICHT |

| 1. DC/DC-Wandler |
| Schaltplan |

| Ausbau |
| 1. |
Zündung ausschalten und Minuskabel (-) der Batterie abklemmen. |
| 2. |
Untere Armaturenbrettverkleidung abbauen. (Siehe Karosserie (Innen und Außen) - "Untere Armaturenbrettverkleidung") |
| 3. |
DC/DC-Wandler-Steckverbinder (A) abziehen. |
| 4. |
Mutter und Schraube entfernen, dann DC/DC-Wandler (B) ausbauen.
|
| Einbau |
Nach dem Abklemmen und Wiederanschließen des negativen Batteriekabels, arbeitet die ISG-Funktion erst, nachdem sich das System stabilisiert hat (nach ca. 4 Sunden). Wenn das Batterieminuskabel (-) während der Reparaturarbeiten bei einem mit AMS-Funktion ausgestatteten Fahrzeug abgeklemmt wurde, muss der Batteriesensor nach dem Ende der Reparaturarbeiten neu kalibriert werden. |
| 1. |
Der Einbau erfolgt in der umgekehrten Reihenfolge des Ausbaus. |
Technische daten SPEZIFIKATION ▷ 13,5V, 120A [Nur ISG] Pos. SPEZIFIKATION Nennspannung 13,5 V, 120 A Drehzahl im Betrieb 1.
Technische daten SPEZIFIKATION ▷ CMF45L-DIN Pos. SPEZIFIKATION Kapazität (20 h / 5 h) (Ah) 45/36 Kaltstart-Amperezahl (A) 410 (SAE) / 410(EN) Kapazitätsreserve (Min) 80 ▷ AGM50L-DIN Pos.
Reparaturverfahren Ausbau 1. Batteriemassekabel abklemmen. 2. Die vordere Stoßstange ausbauen. (Siehe Karosserie - "Vorderer Stoßfänger") 3. Befestigungsschrauben lösen, dann Nebelscheinwerfer (A) ausbauen.
Reparaturverfahren PRÜFUNG 1. B+ an den Gebläsemotor anklemmen und prüfen, ob sich der Motor ordnungsgemäß dreht. 2. Wenn die Gebläsemotorspannung nicht vorschriftsgemäß ist, durch einen nachweislich einwandfreien Motor ersetzen und auf ordnungsgemäße Funktion prü