Kia Picanto (JA): Antriebsstrang / Dampfschlauch und Kraftstofftankdeckel

Kia Picanto (JA) Reparaturanleitung / Wartung / Antriebsstrang / Dampfschlauch und Kraftstofftankdeckel

Reparaturverfahren

PRÜFUNG

Dampfschlauch

1.

Alle Schellen auf festen Sitz und alle Anschlüsse auf Undichtigkeit prüfen.

2.

Dampfleitungen und -schläuche per Sicht auf Risse, Undichtigkeiten, lose Anschlüsse oder Verformung prüfen.

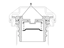
Tankdeckel

1.

Per Sicht prüfen, ob Tankdeckel und -dichtung (A) verformt oder beschädigt sind.

    Reparaturverfahren PRÜFUNG [Kappa 1,0 MPI, 1,0 FFV, 1,0 T-GDI] Ventilspiel kontrollieren. Bei Bedarf das Ventilspiel durch Ersetzen der Stößel einstellen.

    Weitere Informationen:

    Kia Picanto (JA) Reparaturanleitung: Heckwaschanlagenmotor

    Reparaturverfahren PRÜFUNG 1. Waschwasserbehälter mit Wasser füllen (die Waschwasserpumpe muss dabei an den Behälter angebaut sein).    Vor dem Auffüllen des Behälters mit Wasser prüfen, ob der Filter mit Fremdk

    Kia Picanto (JA) Reparaturanleitung: Modus-Stellantrieb

    Bauteile und bauteile-Übersicht BAUTEILE-ÜBERSICHT 1. Modus-Stellantrieb Beschreibung und bedienung Beschreibung Der Modus-Stellantrieb befindet sich an der Heizungseinheit. Es regelt die Stellung der Modus-Klappen über die Betätigung des Modus-Stellantriebs basierend auf dem Sig

    Kategorien

     
    Copyright © 2025 www.picantode.com - 0.0141